杭州顺网科技股份有限公司

主营:计算机系统服务

更多产品

产品列表

PRODUCT

计算机系统服务 数字时代的隐形支柱

计算机系统服务 数字时代的隐形支柱
更新时间:2026-04-14 18:54:16

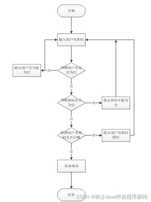
面向高校应届毕业生的服务系统的设计与实现

公司简介

COMPANY

公司简介: 杭州顺网科技股份有限公司(代码300113)成立于2005年,是国内领先的互联网科技公司,业务遍及全国所有省份370多个城市及韩国、越南、泰国、马来西亚等多个国家,每年为逾1.4亿网民提供优质产品及服务。以产品和技术为驱动,公司始终致力于以数字化服务为人们创造沉浸式的全场景体验。秉承“科技连接快乐”的企业使命,顺网科技基于全球领先的串流、多终端管理技术,以及丰富的场景化服务经验,形成了本地服务、云服务及元宇宙服务,持续向用户提供先进的产品及技术解决方案,帮助企业客户实现业务创新,帮助互联网用户全面提升数字体验,是泛产业走向数字化的重要连接者及推动者。本地服务是公司核心。顺网科技作为行业龙头企业,为本地场景中“多场景-多终端-多并发-多用户”的四多应用场景提供了行业领先的软件服务,覆盖8万余家上网服务场所及过亿用户。基于对本地场景的大范围覆盖,为全球合作伙伴提供了千人千面的精准营销服务,是公共上网场景下最为强大及成熟的本地服务之一。云服务(即:顺网雲)是公司倾力打造的边缘云服务。面向各行业合作伙伴,提供领先的边缘云计算产品服务及多场景的行业解决方案。基于“顺网lnside”理念,顺网对外共享领先技术,将顺网的优势技术内置到更多合作伙伴的产品中,通过被集成,实现核心技术的互联网化和应用的数据化、智能化,从而推动产业数字化建设,助力各行各业实现数字化升级。

公司简介

经营范围

scope

一般项目:软件开发;技术服务、技术开发、技术咨询、技术交流、技术转让、技术推广;信息系统集成服务;计算机系统服务;广告设计、代理;广告制作;广告发布;网络设备销售;通信设备销售;电子元器件零售;计算机软硬件及辅助设备零售(除依法须经批准的项目外,凭营业执照依法自主开展经营活动)。许可项目:第一类增值电信业务;第二类增值电信业务;网络文化经营(依法须经批准的项目,经相关部门批准后方可开展经营活动,具体经营项目以审批结果为准)。

企业信息

Information

杭州顺网科技股份有限公司

法人代表:华勇

注册地址:杭州市西湖区文一西路75号3号楼

所属行业:互联网和相关服务

更多行业:互联网其他信息服务,互联网信息服务,互联网和相关服务,信息传输、软件和信息技术服务业

联系我们

电话:0571-38**

邮箱:sh**[email protected]

地址:杭州市西湖区文一西路75号3号楼

友情链接: 网络科技推广服务 人工智能应用软件开发 智能门锁控制板 建筑安装工程 服装辅料销售 计算机系统服务 建筑材料 文艺演出 树木种植经营 数据处理 计算机网络工程的设计与维修 数据处理服务 理财 动画片 网络技术服务 导航终端 网络与信息安全软件开发 办公打卡系统 人工智能行业应用系统集成服务 网络技术服务 代理销售保险产品 建筑材料 社会经济咨询服务 网站设计与开发 薯类销售 食品互联网销售 工程机械设备的租赁安装 数字内容制作服务 网站建设 茶具 消防检测服务 通讯产品 手表 教育信息咨询 金属材料 母婴用品 针织 基础软件开发 中小学生校外托管服务 电器设备 家禽 农产品 重庆技术服务 旅游咨询服务 计算机网站 服装代理 企业形象策划服务 吸粪车 礼仪 建筑装潢材料 技术开发 婚庆礼仪服务 云雀 鞋批发 桂林电子产品 旅游开发项目策划咨询 日本红枫 技术服务 项目担保 企业形象设计 企业事务登记代理 气动执行器 服饰 实验小学 环保科技 钢板 枝江市亘筑商贸有限公司 金欧米诺(上海)园艺科技有限公司 北京傲时代信息技术有限公司 苏州蜂集网络科技有限公司 上海默于网络科技有限公司 武汉童戈丰商贸有限公司 中山市立丹源印刷设备有限公司 海口屿莉盈科技有限公司 无锡市堰安起重搬运工程有限公司 江苏链农荟电子商务有限公司 北京冰镜藤科技有限公司 北京通鼎光扬网络科技有限公司 广州市军霸建材科技有限公司 北京灏然义品科技有限公司 德州润泽土工材料有限公司 福建众创高电气设备有限公司 广西顺富医药咨询有限公司 芜湖蒎涵文化传媒有限公司 成都云万维网络科技有限公司 广州厉氏软管有限公司 深圳金牛宝投资有限公司 河南找医生网络科技有限公司 掌如科技服务有限公司 广州司机大院物流有限公司 营口鑫垚传媒有限公司 哈尔滨鑫扶摇科技开发有限公司 济宁鑫明工程机械有限公司 南京市江宁区尤之丹农产品经营部 延吉市原谷牛汤馆 上海子烁密封保温材料有限公司 上海峰麟榕商贸有限公司 合肥悦晟电子科技有限公司 山西汪冉田信息咨询有限公司 临安骨伤科医院 颜沿(上海)智能科技有限公司 深圳市有棵树科技有限公司 南京振乔农业科技服务有限公司 天气预报 北京众坷科技